
The Colts football team may be relaxing after its recent Super Bowl victory, but for some of their fellow Indianapolis residents, the big game is just about to get under way: Starting tomorrow, radiologists, technologists, and other staff at Clarian Health Partners will begin a marathon imaging session that is part of the National Football League (NFL) Scouting Combine. The five-day event will require the manpower of 200 people and result in thousands of MRI, CT, and x-ray images.
The Combine, also known as the National Invitational Camp, is operated by the National Football Scouting organization on behalf of team owners. During this invitation-only showcase at Indianapolis' RCA Dome, college football players are put through various physical and mental tests in front of NFL coaches, general managers, and scouts. The results can make or break an aspiring professional athlete's career, influencing draft status and his potential salary.
On the field, the challenges include a 40-yard dash, 20-yard shuttle, and three-cone drill. Off the field, there is injury evaluation, which is where Clarian Health Partners goes on the offensive. Since 1987, Clarian has performed all the required medical testing that the players undergo. At the 2006 Combine, the healthcare professionals at Clarian produced 2,683 x-rays and 400 MRIs, as well as countless ultrasounds and bone scans -- not to mention all the nonimaging, diagnostic studies (Indianapolis Business Journal, September 4-10, 2006).
This year, Clarian staff expects to handle that same volume and more, anticipating more than 320 athletes. Needless to say, having a game plan is essential. The Indianapolis-based "coaches" for the imaging portion of the Combine physicals this year are:
- Dr. Kenneth Buckwalter, professor of radiology and vice chair, clinical director of Indiana Radiology Partners
- John Dickey, radiology manager for Clarian Health Partners
- Richard Helsper, vice president of operations for Clarian Health Partners
- Dr. Jonas Rydberg, medical director, department of radiology at Methodist Hospital
Rydberg, Helsper, Dickey, and Buckwalter got together to answer a few questions from AuntMinnie.com on the logistics behind Combine physicals.
AuntMinnie: When do you start the testing process and how long does it last?
The process starts on Wednesday and ends Sunday. Each player is here about two days. Radiography and/or MRI begin as soon as players have been evaluated (clinically). The arrival of the players will be split up over four days.
Most of the diagnostic testing (radiology exams, labs, ECG) is done the day the player arrives or the first full day of the Combine for each player. The length of testing time varies from player to player. If a player has a lot of radiology exams to be done, he may be at the hospital most of the day, as compared to player that has only a routine chest x-ray that may leave one hour after he arrives at the hospital.
How many staff members (technologists, sonographers, radiologists, support staff) are involved? How long is a typical day?
Long -- 8 a.m. until work is done each day. Workdays for radiologists can be between 10 and 14 hours.
As many as 200 radiology staff members are directly involved with the Combine. Many of the radiology staff (come) from several outpatient centers and our suburban hospitals. There are a total of 11 radiologists involved, covering musculoskeletal MRI/CT, neurological MR/CT, plain films, and QA for MR/CT.
Besides the radiology staff, there is (support staff for) patient access, security, housekeeping, maintenance, dietary, laboratory, and the heart station.
![]() |
![]() |
| Line of scrimmage: Color-coded markings and clear signage ensure that Combine participants don't wind up in the wrong area of the hospital. |
![]() |
How many imaging units are used for the Combine? Are the scanners located at different facilities? How do you get people around on time?
There are as many as 15 MRI scanners (in use) at one time. Scanners are located at many sites around town. Players are transported by van or escorted around the downtown campus, sometimes using the monorail train between Methodist and the Indiana University/Riley campus (about an eight-minute trip).
What's your "pregame" strategy for organizing this undertaking? With regard to imaging protocols, how do you make sure that everyone is on the same page given variations in experience, skill sets, or which institution they are based at?
We begin planning for the next Combine as soon as the current Combine is over. We evaluate processes and our performance, and make plans on what we can do better. In mid-October, we begin organizational meetings to plan our strategy for the upcoming Combine.
For MRI, there are four one-hour meetings with MRI techs (to review) a standard protocol book. Each examination is QA'd while the player is in the scanner. For CT, standard sets of CT protocols (fewer CTs are done) and plain-film protocols are (also) standardized.
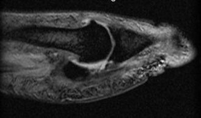
![]() |
| Images from a prior Combine event. Player with right shoulder pain. Oblique sagittal fat-saturated T2 MR images of the right and left shoulders. Increased signal in the right infraspinatus muscle suggests denervation edema, possibly caused by mass effect from markedly hypertrophied supraspinatus muscle causing pressure on the adjacent suprascapular nerve. |
![]() |
We do between 1,500 and 2,000 plain-film exams. These are read by experienced radiologists working in two-person teams. Any difficult case is discussed among the radiologists. All exams are driven by predefined protocols with a two-step QA process before the images reach the radiologists.
All reports are templated and a voice recognition dictation system is utilized. All dictations pass through an editor before they go back to radiologists for signing. All exams are signed on the day or night of the exam so the report is available the next day, no later than 6 a.m.
In general, there is a tremendous focus on the quality of the end product. Good quality control by our radiologist and management staff!
What are you looking for with these tests? Are they strictly screening exams? Are you assessing old injuries? Looking for new ones? Do you do cardiac screening?
All are screening studies. We are looking for the extent of injuries, surgical repairs. One or two times during Combine an "incidentaloma" may be discovered, but we do not get any follow-up on these patients.
No cardiac imaging is performed, but players have physical examinations and ECGs.
All players have a routine chest x-ray as a general screening procedure, but no other specific cardiac screening.
For certain player positions, there are some screening exams such as lumbar spine for linemen. The vast majority of the exams reflect known injuries or follow-up of symptoms that are discovered during physical examination prior to radiology.
How much clinical history do you have on these players? Does every athlete undergo imaging with all modalities or is there a selection process?
The very first thing that happens when the player arrives at the hospital is that he is interviewed by a medical staff member. Clinical history is provided during the personal interviews with each player before he begins his diagnostic testing.
There are two selection processes that occur for determining the imaging that will be done on each player: The clinical history interview done at the hospital on the player's arrival day and the actual clinical physical done on the player the following day at the (RCA Dome).
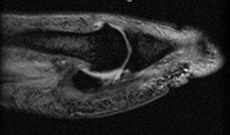
![]() |
| MR from same player as above. Oblique coronal proton-density-weighted images of the right and left shoulders show the massive bilateral muscle development. |
![]() |
What kind of timeline do you have to read the films and generate the reports?
Radiologists do not leave the department until the last exam is signed each evening or night. All reports and hard-copy films must be available at 6 a.m. the following day after the players' initial arrival day of testing.
Who gets the reports ultimately? Do you share the information from the exams with the athletes?
Team physicians from all 32 NFL teams receive the same diagnostic report data.
We do not share any diagnostic report information with the players. Occasionally, there is a finding that needs to be addressed immediately, and the radiologists see that team physicians receive this information first. The event organizers and team physicians have a protocol in place for privately alerting players of any finding that may require immediate attention.
Football players are not known for being petite people! Do you find that you have to make special provisions to accommodate their size?
Occasionally, we have to resort to the open magnet or unusual scanning positions (broad shoulders may require scanning affected arm down, unaffected arm up).
When it comes to x-ray, lumbar spine of linemen we are sometimes close to melting down the x-ray tubes, and we will still not get perfect exposure quality. That is the true proof that we are examining the most muscular individuals in the country.
Radiation dose is a hot-button issue. Given that these are "voluntary" exams (versus medically necessary) in young people, what do you do to keep dose at a minimum?
We use standard techniques to ensure a diagnostic examination without incurring an unreasonable radiation dose. Doses are always adjusted to the size of the person under examination. The CT doses used are all within the safety margins.
Also, the technologist staff are coached and advised to be aware that these players may be having large quantities of radiographic procedures over their careers. Extra precautions are taking to shield players when possible.
![]() |
![]() |
| A case of turf toe. Above, right first MTP sagittal PD image. Middle, first MTP sagittal GRE. Below, first MTP sagittal STIR. |
![]() |
| All images courtesy of Clarian Health Partners. |
Clarian Health Partners has done testing for the Combine since 1987. What lessons have you learned over the years that have changed or improved the process?
In 1987 we did not know how much of an impact the Combine would have on our radiology department and our hospital. Somehow, we managed to stumble through that first year and offer National Football Scouting a better product than they had seen in any previous city where the Combine had been held.
We are now a well-tuned machine to do the best job possible for a huge imaging demand over a very short time period. Remember that the routine work in radiology is running in parallel almost a normal intensity. The process is greatly simplified by installation of PACS.
These athletes have quite a bit riding on these tests and the whole Combine experience. Do you feel any additional pressure when you are reading these exams in terms of how the results will affect their futures?
Yes. The technologists as well as the radiologists understand how important this is to the players and to the NFL, and want to do everything possible to ensure a high-quality examination, a high-quality report, and a positive experience for all involved.
Most of the players understand how important the process is and are cooperative and respectful. We are proud of the professionalism that our institution is able to project during the event.
There is clearly a sense of tension in the air. The organization (effort) for radiology is huge and the logistics must work. But when it comes down to reading individual exams, it is all about professionalism. Reading the exam of a potential pro football player is no different than reading the films of a regular patient with a disease. It must always be done in a professional medical way without any bias.
By Shalmali Pal
AuntMinnie.com staff writer
February 20, 2007
Related Reading
Endurance sports may harm the heart: study, January 23, 2007
High signal on T2 MR warns of poor healing after Achilles tendon repair, December 22, 2006
Screening program cuts cardiovascular deaths among young athletes, October 4, 2006
Playing their hearts out: Do young athletes need cardiac screening? August 16, 2005
Copyright © 2007 AuntMinnie.com






























